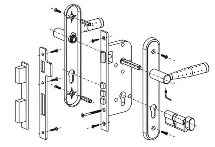
Five Parts of the Lever Handle Lock
As can be seen from the figure, interior lever handle locks generally consist of the following five parts.

1. The lever handle
The lever handle, also known as the door handle, can be made from zinc alloy, copper, aluminum, stainless steel, plastic, etc. Now the common door handles on the market are made from zinc alloy, which has excellent plasticity so that the handle can be designed into various shapes and colors.
2. The panel
According to the length and width of the panel, the lock can be divided into two types: gate locks or room door locks. Door panels are different in size, so choose locks according to the hole dimension of doors. Before purchasing the lock, specify the thickness of the door, which is generally between 38mm and 45mm.
3. The lock body
The lock body is the core of a lock. It basically consists of five parts: a body case, main parts, lining plate, a strike plate, a strike box and screws. The materials used in the five parts are different. The body case usually uses the galvanized steel sheet. The main parts are generally made from zinc alloy and high-quality iron. The lining plate and strike plate are made from stainless steel and copper.
4. Plug
The plug is the main part to control the opening of the lock. The material and process of the plug have great influence on the lock. The plug of the mortise lock generally uses the pin tumbler mechanism. The more pins there are, the better the anti-theft system is. The front pin and the last pin play the role of positioning. The middle pins are used as code. The more pins there are in the middle, the lower the interchangeability is.
5. Accessories
Everyone knows a truth, that is, a small leak will sink a great ship. A small accessory will destroy a precision machine, so the small accessory inside a lock is of great importance.

1. The lever handle
The lever handle, also known as the door handle, can be made from zinc alloy, copper, aluminum, stainless steel, plastic, etc. Now the common door handles on the market are made from zinc alloy, which has excellent plasticity so that the handle can be designed into various shapes and colors.
2. The panel
According to the length and width of the panel, the lock can be divided into two types: gate locks or room door locks. Door panels are different in size, so choose locks according to the hole dimension of doors. Before purchasing the lock, specify the thickness of the door, which is generally between 38mm and 45mm.
3. The lock body
The lock body is the core of a lock. It basically consists of five parts: a body case, main parts, lining plate, a strike plate, a strike box and screws. The materials used in the five parts are different. The body case usually uses the galvanized steel sheet. The main parts are generally made from zinc alloy and high-quality iron. The lining plate and strike plate are made from stainless steel and copper.
4. Plug
The plug is the main part to control the opening of the lock. The material and process of the plug have great influence on the lock. The plug of the mortise lock generally uses the pin tumbler mechanism. The more pins there are, the better the anti-theft system is. The front pin and the last pin play the role of positioning. The middle pins are used as code. The more pins there are in the middle, the lower the interchangeability is.
5. Accessories
Everyone knows a truth, that is, a small leak will sink a great ship. A small accessory will destroy a precision machine, so the small accessory inside a lock is of great importance.
